Services on Demand
Journal
Article
Indicators
Related links
-
Cited by Google -
Similars in Google
Share
SAIEE Africa Research Journal
On-line version ISSN 1991-1696Print version ISSN 0038-2221
SAIEE ARJ vol.116 n.1 Observatory, Johannesburg Mar. 2025
Advancements in Electrical Marine Propulsion Technologies: A Comprehensive Overview
N. ArishI; M.J. KamperII; R.-J. WangIII
IMember, IEEE, Department of Electrical and Electronic Engineering, Stellenbosch University, South Africa. e-mail: nima.arishh@gmail.com
IISenior Member, IEEE, Department of Electrical and Electronic Engineering, Stellenbosch University, South Africa. e-mail: kamper@sun.ac.za
IIISenior Member, IEEE, Department of Electrical and Electronic Engineering, Stellenbosch University, South Africa. e-mail: rwang@sun.ac.za
ABSTRACT
The shipping industry is shifting towards efficient and environmentally friendly propulsion systems to reduce costs and ecological impact. Traditional diesel engines, predominant in maritime operations, face challenges of high operating costs and environmental pollution, prompting the exploration of alternatives. Electric propulsion emerges as a promising solution, offering cost reduction and environmental preservation through reduced noise, This paper reviews electric ship propulsion systems and compares various marine propulsion systems, including in-hull, azimuth, and POD propulsion, with an emphasis on the latest POD systems. Specifically, it analyzes AZIPOD (ABB) and Mermaid (Rolls-Royce) propulsion systems in terms of motor type, cooling system, and power range. Additionally, the paper provides insights into the electrical components of POD propulsion, and the latest technology in ship propulsion, such as transformers, frequency converters, and propulsion motors, and explores redundancy in ship propulsion systems. It offers a detailed comparison of different electric motors, including DC motors, induction motors, superconducting motors, synchronous motors, and permanent magnet motors, discussing the advantages and disadvantages of each. This comprehensive review under-scores the potential of electric propulsion systems to transform the maritime industry toward sustainability and efficiency.
Index Terms: PM motor, vernier motor, HTS motor, ship propulsion, POD propulsion.
I. INTRODUCTION
For generations, ships have traversed the world's oceans propelled by the steady hum of diesel engines. However, mounting concerns regarding pollution and the escalating costs of traditional fuels are compelling the maritime industry to chart a new course. Seeking more efficient and eco-conscious propulsion systems, the shipping sector is actively exploring alternatives to mitigate environmental impact and reduce operational expenses [1]. While diesel engines have long been the workhorses of maritime transport, their high operational costs and adverse environmental effects have catalyzed a quest for innovation [2]. Fueled by stringent emission regulations, advancements in battery storage, and the emergence of alternative fuels, the industry is embarking on a diverse and dynamic journey toward sustainability. This paper navigates through this evolving landscape, delving into alternative propulsion systems promising quieter journeys and cleaner oceans. At the forefront of these alternatives are electric engines, her-alded as the vanguard of marine propulsion technology [3], [4]. Electric propulsion systems have emerged as compelling solutions, demonstrating the potential to simultaneously reduce costs and preserve the environment [5]. Their advantages include diminished noise and vibration levels, reduced space requirements, and lower maintenance needs. As the industry continues to evolve and innovate, the pursuit of effective and sustainable propulsion solutions remains at the forefront of maritime development [6], [7].
This paper provides an overview of various electric propulsion options, including hybrid propulsion, diesel-electric propulsion, gas-electric propulsion, turbo-electric propulsion, and pure-electric propulsion. Additionally, it examines different propulsion systems such as in-hull propulsion, Azimuth propulsion, and POD propulsion. Furthermore, it explores the electrical overview of POD propulsion, encompassing components like transformers, frequency converters, and various electric motors utilized in POD propulsion systems. By embracing these advancements and exploring diverse propulsion systems, the maritime industry seeks to navigate toward a future defined by efficiency, environmental stewardship, and technological innovation. The remainder of the paper is organized as follows: In Section II, the all-electric propulsion system and powertrain are discussed and compared from the beginning. In Section III, all the electrical components of the POD propulsion system are examined and compared, with a focus on the electric motor used in the electric propulsion. In Sections IV and V, redundancy and future work, which are important in ship propulsion, are discussed. Finally, the conclusion is presented in Section VI.
II. Electric propulsion
Embarking on a captivating voyage spanning nearly two centuries, Fig. 1 navigates through the history of marine vessel electrical power systems. From the pioneering sparks of the 1830s to the groundbreaking innovations of 2015, it illuminates key milestones along this electrifying journey. In the evolving landscape of the maritime industry, a paramount shift towards cleaner and more efficient propulsion systems is evident [8]. Traditionally dominated by diesel generators (Fig. 2) [9], the industry is actively exploring innovative alternatives through electric propulsion to address environmental concerns and enhance fuel efficiency across various types of ships, as depicted in Fig. 3. All electric propulsion systems can be divided into three main categories in this journey, generator-driven electric propulsion, hybrid propulsion, and pure-electric propulsion systems according to the power generation method [10], [11].

A. Generator-driven Electric Propulsion
This system consists of a generator (Diesel, Gas, or Turbo), a phase shift transformer, a rectifier, an inverter, and a propulsion motor as depicted in Fig. 2.
A phase shift transformer is employed to enhance the voltage waveform at the DC stage of the rectifier output and to minimize harmonic components. However, the substantial volume and weight of a phase shift transformer make it impractical for use in small and medium-sized ship systems.
1) Diesel-electric Propulsion: The diesel-electric propulsion system involves using diesel engines as power generators for electric motors and driving propellers. This configuration provides benefits such as optimized fuel efficiency, precise maneuverability, and reduced emissions, making it suitable for vessels like cruise ships, ferries, icebreakers, and offshore vessels [12].
2) Gas-electric Propulsion: Gas-electric propulsion employs high-powered gas turbines burning Liquefied Natural Gas (LNG) or Liquefied Petroleum Gas (LPG) for electricity generation, offering lower emissions, faster acceleration, and fuel flexibility. This system is gaining traction in large container ships, tankers, and LNG carriers [13], [14].
3) Turbo-electric Propulsion: Turbo-electric propulsion utilizes waste heat from diesel engines or auxiliary boilers to drive steam turbines, generating electricity for propulsion. This complex yet efficient setup results in improved fuel efficiency, quiet operation, and scalability, making it suitable for military ships, research vessels, and certain large cruise ships [15].
B. Hybrid Propulsion
A hybrid-electric propulsion system is an electric propulsion system that utilizes existing generator engines (diesel, gas, or turbo) in conjunction with power sources such as Energy Storage Systems (ESSs) and fuel cells as depicted in Fig. 4 [9]. An ESS is an energy storage device that stores and supplies idle energy produced by the generator engine. Lithium batteries are primarily used for this system. Additionally, a fuel cell is a power generation device that converts chemical energy into electrical energy using fuels such as hydrogen and natural gas [11].

C. Pure-electric Propulsion
Pure-electric propulsion is designed to facilitate voyages that are emission-free and exceptionally quiet, utilizing ESS or fuel cells for energy, as illustrated in Fig. 5. These innovative systems enable the ESS to be replenished with renewable energy sources, such as solar panels and wind turbines, especially when ships are docked. This method highlights a deep commitment to sustainable and environmentally friendly maritime practices. In the realm of fuel cell systems, hydrogen gas is the primary source of electricity generation, providing the flexibility to either recharge the ESS or directly power the ship's electric motors.This groundbreaking technology, though still in the nascent stages for larger vessels, heralds a future of zero emissions, silent operations, and reduced maintenance. Early adoption is evident in various types of vessels, including ferries, inland waterway barges, harbor tugs, and passenger boats, underscoring the maritime industry's shift towards more sustainable solutions [16].

D. Propulsion Systems
The main benefit of using electric motors for ship propulsion is the reduction of mechanical gear and shaft length, which leads to decreased fuel consumption, improved dynamic performance, heightened reliability, reduced maintenance expenses, and increased flexibility in ship layout [17]. Through the careful selection of suitable drive motors, electric propulsion eliminates the necessity for reduction gear and significantly shortens the shaft length. The propulsion system can be categorized into three main groups: in-hull propulsion, azimuth thrusters, and POD propulsion [18].
1) In-hull Propulsion: The configuration of in-hull or shaft-line propulsion with electric drives closely resembles that of mechanical propulsion, which is designed with a Controllable Pitch Propeller (CPP) or Fixed Pitch Propeller (FPP). The ship's main engine transmits torque to the propeller via a long shaft through the hull.
The electric drive system offers a more compact configuration compared to traditional mechanical propulsion due to the flexible placement of the electric motor. This flexibility allows the motor to be situated closer to the propeller, which can significantly reduce the length of the propeller shaft. Fig. 6 depicts a shaft line propulsion arrangement for a vessel, showcasing the electric drive motor, the propeller shaft, and the associated reduction gearbox-key components of the in-hull propulsion system [11].

2) Azimuth Propulsion: Azimuth thrusters provide a versatile solution for maritime propulsion, designed for constant speed and CPP design, variable speed FPP design, or, in rare cases, a combination of speed and pitch control [20]. Azimuth thrusters offer both Z-type and L-type gears to connect the propeller horizontally and vertically to the shaft, as seen in Fig. 7 [21]. The choice between vertical motors and L-shaped gears depends on the absence of height restrictions in the thrust chamber, making these configurations preferable due to their simpler structure and lower power-transmission losses. However, despite their advantages, azimuth thrusters have limitations, particularly in their constrained ability to produce speed in two directions. This limitation is inherent in their design and optimization for one-way thrust applications.

In the realm of maritime control, azimuth thrusters stand out with their external PODs featuring 360° rotating propellers and shorter shafts compared to in-hull propulsion. Notably, these thrusters operate without relying on a rudder, introducing a new dimension to vessel agility. This innovation facilitates precise maneuvers such as sideways movement and docking [22]. While azimuth thrusters demand meticulous maintenance due to their intricate design, their efficiency and reduced noise levels position them as a superior alternative to conventional propulsion systems. The choice between Z-type and L-type gears, along with careful consideration of their limitations, underscores the importance of selecting the most suitable configuration for specific maritime applications [23].
3) POD Propulsion: Breaking away from tradition, podded propulsion revolutionizes ship movement, departing from the conventional FPP. By discarding the long, efficiency-sapping shaft, podded systems house propellers in rotatable PODs outside the hull, unlocking a new era of nautical agility and efficiency [24]. Streamlined designs and direct connections to electric motors or engines mean less energy wasted, translating to fuel savings and cleaner emissions. Freed from the constraints of the hull, these PODs open up valuable space. Indirectly driven PODs, with their internal gearing, keep the prime mover comfortably inside the ship. But for those seeking ultimate simplicity, directly driven PODs house the prime mover within the pod itself, cutting out the gearbox and streamlining the system even further [25], [26].
A comparison between POD propulsion, azimuth propulsion, and in-hull propulsion is detailed in Table I. ABB and Rolls-Royce (RR) stand out as prominent players in the marine industry, both renowned for manufacturing POD propulsion systems with a diverse range of power options and features. ABB is known for its Azipod propulsion systems, while RR offers the Mermaid series [11], [27]. All the POD propulsion systems from ABB and RR are depicted in Fig. 8 and compared in Table II. It can be observed based on Table II, that PM motors are predominantly utilized in the 1-5 MW power range due to their advantages in efficiency, power density, and compactness. These characteristics make them ideal for applications requiring precise control and high performance in a smaller footprint, such as ship propulsion. However, scaling PM motors to higher power levels presents significant challenges.
The primary issues include the high cost and supply chain limitations of rare-earth materials used in permanent magnets, as well as difficulties in managing heat dissipation at higher power levels, which can affect performance and reliability. On the other hand, conventional synchronous and induction motors are preferred for higher power applications (6-22 MW) because they are more economical, have proven durability, and can efficiently manage thermal stresses over prolonged periods. These motors do not rely on expensive magnets and have well-established, scalable manufacturing processes, making them suitable for large-scale industrial applications such as marine propulsion, heavy machinery, and power generation. However, ongoing research in motor technology, including advancements in magnetic materials and cooling techniques in the future, may disrupt this landscape by enabling PM motors to be used at higher power levels.
Additionally, the development path from the initial Azipod to Azipod XL is illustrated in Fig. 9, which represents the latest product in ABB's Azipod propulsion line.
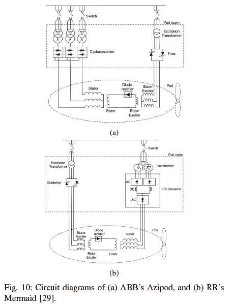
4) Azipod vs Mermaid: As mentioned before, Azipod and Mermaid are the most well-known POD propulsion systems, which are for ABB and RR, respectively. Transformers and converters are typically located inside the ship in a POD room, with the motor positioned within the POD. Most of the produced Azipods and Mermaid share a common design, featuring a synchronous motor and a dry transformer with delta-wye coupling. The circuit diagrams of the Azipod by ABB and Mermaid by RR are depicted in Fig. 10. For a more comprehensive comparison, the Azipod and Mermaid are compared in Table III.

III. Electrical overview of POD propulsion
The core electrical components of POD propulsion systems generally encompass a power plant, switchboards, transformers, frequency converters, and propulsion motors [28]. These components maintain crucial roles in powering the system, as shown in Fig. 11.

A. Transformer
The transformer serves multiple purposes, including segmenting the system into various sections to achieve different voltage levels and facilitating phase shifting. It provides electrical isolation between the generator and drive sides, as illustrated in Fig. 11. In the realm of POD propulsion, two primary configurations are prevalent: the wet type and the dry type. ABB and RR predominantly employ the dry type, featuring a delta-wye connection. Harmonic distortion, which deviates from the ideal sinusoidal shape of the supply voltage, can increase losses, overheating of equipment, and electromagnetic interference.
To counteract these issues, employing Variable Frequency Drives (VFDs) that modulate current intake in pulses is effective in diminishing the impact of harmonics. Transitioning to converters with higher pulse numbers-moving from 6-pulse to configurations of 12, 18, or 24 pulses-can significantly improve harmonic mitigation. However, this approach might compromise efficiency due to the incremental losses associated with additional transformers [28], [29].
B. Frequency Converter
The purpose of a frequency converter is to regulate the speed and torque of the motor by converting a constant frequency into a variable frequency. Advances in semiconductor technology have played a crucial role, enabling various converter designs [30]. In POD propulsion, three converters are currently of interest: the Cyclo converter (Cyclo), the Load Commutated Inverter (LCI), and the Voltage Source Inverter (VSI) drive is shown in Fig. 12 [31]. The VSI drive, the second type, differs from the former two by employing controllable switches instead of thyristors. The VSI utilizes Pulse-Width-Modulation (PWM) to control the output voltage. It is widely used in industrial applications and is anticipated to become increasingly prevalent in marine applications [32].

RR utilizes the Cyclo and VSI, while ABB employs the LCI and VSI. ABB deploys VSI in their small POD Compact and some older small Azipods, while RR utilizes it in some of their smaller Mermaid PODs. ABB uses IGCT (Integrated Gate Commutated Thyristor), and RR uses IGBT (Insulated
Gate Bipolar Transistor) [28]. LCI and VSI share a similar design, comprising a diode rectifier, a DC link, and an inverter generating variable frequency and voltage for motor frequency control. In contrast, the Cyclo employs a different design with a direct converter and no DC link, resulting in a more complex construction. Notably, the VSI has the highest output frequency at around 300 Hz, while the LCI reaches a maximum of approximately 120 Hz. The Cyclo can only provide 40% of the input frequency, equivalent to 25 Hz at a 60 Hz input.
A comparison has been made for all converter types for the POD propulsion system in Table IV. All three converters are currently available at various power levels and voltages. Fig. 13 shows all the AC motor drives categorized by voltage and power level for POD propulsion. As can be observed, VSI is utilized for low voltage (LV), medium voltage (MV), low power (LP), and medium power (MP) applications, Cyclo is employed for MV and MP, and CSI is applied for HV and HP, respectively [33], [34], [35].

C. Electric Motor for POD Propulsion
The ship propulsion motor is a pivotal component in a vessel. A comprehensive literature review was conducted to identify the most suitable propulsion motor options. Generally, there are five types of electric propulsion motors for ships: DC motors, induction motors, superconducting motors, synchronous motors, and permanent magnet motors [36].
1) DC Motor: In the early days of maritime electric propulsion, DC motors reigned supreme thanks to their unique advantages as can be seen in Fig. 14. Their step-less speed control capabilities offered unparalleled maneuverability, while their inherent torque characteristics provided smooth, responsive power ideal for delicate operations [37]. However, the tide began to turn with the emergence of AC motors and variable-speed drives, as innovative technologies outmatched DC in several crucial areas. DC motors, for all their advantages, hit a hard ceiling of around 5 MW, and their brushes and commutators, vital for operation, became increasingly prone to wear and tear at higher power levels, demanding frequent maintenance and limiting their scalability. In contrast, AC motors boasted significantly higher power capacities, often exceeding 10 MW for larger vessels, and significantly reduced maintenance needs, thanks to the absence of these wear-prone components [37]. Efficiency, although a significant factor, wasn't the only aspect contributing to the superiority of AC motors. Their inherently robust design translated to enhanced reliability compared to DC motors. Furthermore, the widespread availability of sophisticated AC variable-speed drives offered unparalleled control and optimization, further solidifying their dominance. While DC motors' smooth operation still finds niche applications in tasks like hydrodynamic surveys where precision is paramount, their limitations confine them to smaller vessels [38]. For the vast majority of modern seagoing ships, AC motors' combination of scalability, reliability, efficiency, and advanced controllability positions them as the preferred choice for electric propulsion.

2) Induction motor: Induction Motors (IM) are widely used in ship propulsion systems. Leveraging the principles of electromagnetic induction, they generate torque by inducing currents in the rotor via a rotating magnetic field produced in the stator windings. Their robustness and versatility make them the preferred choice for both main propulsion and auxiliary thruster systems in high-power maritime applications [39], [40], [41], [42]. Although there are some drawbacks in speed control, power density, and starting torque, IM remains the top choice for ship propulsion. They are reliable, efficient, and cost-effective [43]. These motors perform well in harsh maritime conditions, require little maintenance, and have simple designs that reduce downtime and operating costs. While specialized motors like multi-phase or tandem IM may provide high power ranges and more reliability, the overall value of IM keeps them firmly at the forefront of maritime propulsion [44], [45]. Fig. 15 depicts the real size of three different types of IM commonly used in ship propulsion.
3) Synchronous Motor: In podded propulsion applications, the synchronous motor was traditionally favored for its exceptional power output, which is capable of reaching up to 100 MW. However, the IM is gaining traction due to its advantages. While synchronous motors offer unlimited power potential, their benefits come at a cost. As power increases, so does their size and complexity, translating to bulky frames and intricate rotor designs with field windings. Additionally, they require a starting application, which initially seemed like a drawback. However, the use of frequency converters transforms this into a significant advantage. These converters enable precise control over the motor's speed and torque, proving invaluable during port maneuvers and berthing, and enhancing efficiency and dynamic performance across a range of operating conditions [46]. However, this versatility comes at a price, as synchronous motors generally cost more than comparable power IM. Fig. 16 shows two synchronous motors with different poles in ship propulsion.

4) Superconducting Motor: High-temperature superconducting (HTS) technology is revolutionizing naval propulsion. Compared to traditional bulky engines, HTS motors offer a compelling combination: compact size, enhanced efficiency, and robust power [47], [48]. These motors utilize superconductors as coils and bulk cooled to -200°C using liquid nitrogen [49]. However, this innovation also introduces potential risks, notably related to coolant safety and cooling system size [50], [51]. HTS technology finds applications in synchronous motors and DC homopolar motors. Homopolar motors represent a leap in simplicity and weight reduction, potentially up to 50% compared to conventional models [52].
Superconducting Homopolar DC Motors (SHDCMs) take this further by employing superconducting field coils, minimizing size and weight while reducing acoustic noise for direct hull mounting, and enhancing maneuverability [53]. Fig. 17 shows some HTS homopolar motors used for propulsion. However, brush technology presents challenges for SHDCMs, with graphite fiber and copper fiber brushes showing promise, while liquid metal brushes face material toxicity issues. Despite these challenges, SHDCMs promise quieter operation, simpler control systems, and compatibility with cost-effective ship electrical distribution architectures [54]. The HTS material is used as the field winding for 5 MW [55], 36.5 MW [56], and 3 MW [57], synchronous motors in ship propulsion as can be seen in Fig. 18 in real size.

5) Wound-field synchronous motors: The Wound-Rotor Synchronous Motor (WRSM) stands out among motor types for its unique characteristics and operational flexibility, particularly in the marine sector as depicted in Fig. 19. Unlike traditional synchronous motors, WRSMs offer variable speed control, achieved by adjusting resistance or impedance in the rotor winding. This capability allows for precise speed adjustments, optimizing motor performance in demanding conditions without the need for additional mechanisms or complex gear arrangements.

Moreover, they offer power factor control, optimize motor efficiency, and potentially lower energy costs by regulating the excitation current. Additionally, WRSMs provide smooth operation, devoid of cogging torque, ensuring consistent performance. However, these advantages come with inherent disadvantages. The presence of slip rings and brushes introduces complexity, increasing maintenance requirements and operational costs [58]. WRSMs generally exhibit lower efficiency compared to permanent magnet synchronous motors (PMSMs) and higher efficiency compared to the IM, resulting in higher operating costs and environmental impact due to energy losses in the rotor winding and slip rings. Additionally, the bulkier size of WRSMs, especially compared to PMSMs, may pose limitations in space-constrained applications [59].
6) PMSM: Early research envisioned a bright future for Permanent Magnet Synchronous Motors (PMSMs) in ship propulsion due to their lightweight, compact size, and superior efficiency compared to traditional motors [60], [61]. PMSMs in ship propulsion come in various configurations, including surface-mounted [62], [63], [64], Halbach array [65], [66], interior permanent magnets [67], [68], v-shape PM [69], [70], spoke array PM [71], [72], axial PM [73], [74], transverse PM [75], [76] and hybrid PM [77]. Their true strength lies in efficiency. With minimal energy loss (up to 98% efficiency), PMSMs outperform induction motors (93.5%-95% efficiency at full load) [60]. They also produce significantly less noise and vibration, thanks to their simpler design, but they are more expensive due to the magnets and the possibility of demagnetization. Fig. 20 shows some structures of PMSMs designed for ship propulsion.

7) Vernier Motor: The permanent magnet Vernier motor (PMVM) is a new generation of PM motor design featuring multiple magnetic pole pairs or gears. This design enables exceptionally high torque at low speeds eliminating the need for bulky speed-reducing gears and allowing direct connection to the propeller. PMVM has lower PF compared to the normal PMSM. Recent research emphasizes the Vernier's superior performance compared to the PMSM and its lightweight construction, positioning it as a promising choice for high-power ship propulsion applications [78]. In recent research, both a PMSM and a PMVM were designed and optimized for a 5 MW POD ship propulsion system, with the same winding assignment. The only difference lies in the number of poles on the rotor, as shown in Fig. 21. The results of optimizations showed that at the same magnet volume, the PMVM is lighter than the PMSM, as can be seen in Fig. 22. A comparative analysis was conducted between the two optimum models as shown in Fig. 21, revealing that the PMVM demonstrates superior overall performance and is cheaper, even at identical levels of power factor and magnet volume. Moreover, the torque versus current characteristics of both the PMVM and PMSM models are illustrated in Fig. 23. The average torque of the PMVM shows a more substantial increase compared to the PMSM design with the rise in applied current. This finding confirms that the PMVM exhibits a marginally higher torque production capability compared to the PMSM. The comparison is shown in Table V for both models. In conclusion, an overall comparison has been conducted for all motors used in POD ship propulsion, as presented in Table VI.



IV. REDUNDANCY
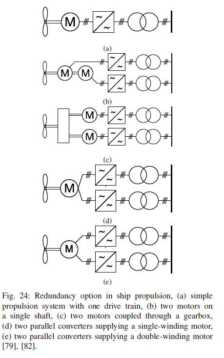
Redundancy is a critical design principle in ship propulsion systems, essential for ensuring reliable and safe maritime operations. For vessels traversing vast, often remote oceans, potential system failures pose unique challenges. To address this, ships incorporate strategic redundancy through backup components like engines, propellers, power generation, and control systems [79]. This redundancy not only acts as a safe-guard against unforeseen technical failures but also enhances the ship's ability to withstand and navigate through adverse conditions, minimizing downtime, maximizing operational resilience, and ultimately ensuring the safety of both vessel and crew, especially in critical situations demanding swift responses. There are several methods to maximize electrical drive redundancy, including (a) having a backup system, (b) using a tandem drive and (c) converting a single electric drive to dual or triple independent units [80], [81] as can be seen in Fig. 24. The last option (c) with minimal changes to the stator winding assignment, resulting in lower overall complexity and cost.

In [81] a normal three-phase 5 MW PMVM with a slot/pole combination of 24/34 is designed and optimized for 5MW POD ship propulsion, as depicted in Fig. 25. By changing one set of winding to two different sets of winding, created a dual three-phase configuration. The performance of the PMVM in normal three-phase, dual three-phase, and dual three-phase in the open-circuit conditions is evaluated to check the redundancy of the system. By changing the normal three-phase winding to the dual three-phase winding, the winding factor increased from 0.925 to 0.957, resulting in a near 3% improvement in torque. Additionally, the reduction of non-working harmonics leads to a decrease in ripple torque, as depicted in Fig. 26 and Fig. 27. In comparison to the performance of the normal three-phase PMVM and the dual three-phase PMVM at the same rated power, as well as in open circuit and faulty conditions, the dual three-phase motor exhibits better performance compared to the normal three-phase motor in terms of losses, efficiency, ripple torque, power factor, and thermal characteristics, as illustrated in Table VII. The result shows, that the dual three-phase motor can operate with half of the rated power in open circuit conditions and maintain acceptable ripple torque (Fig. 28), which provides good redundancy.





V. Future Ship Propulsion Systems
The paper compares various types of electric ship propulsion, including in-hull, azimuth, and POD propulsion, high-lighting the advantages of POD propulsion such as higher maneuverability, lower noise and vibration, compact size, and higher efficiency. Additionally, it provides a detailed comparison of different electric motors used in POD propulsion, including DC motors, induction motors, superconducting motors, synchronous motors, and permanent magnet motors. In lower power ranges (1-5 MW), PM motors are more suitable for ship propulsion applications due to their efficiency, power density, and compactness. This suitability is even more pronounced in Vernier machines, which offer higher torque density, better efficiency, improved thermal performance, and lower mass and cost. However, scaling PM motors to higher power levels presents significant challenges, including the high cost and supply chain limitations of rare-earth materials used in permanent magnets, and difficulties in managing heat dissipation at higher power levels, which can affect performance and reliability. Conversely, conventional synchronous and induction motors are preferred for higher power applications (6-22 MW) because they are more economical, durable, and can efficiently manage thermal stresses over prolonged periods. These motors do not depend on costly magnets and benefit from established, scalable manufacturing processes, making them ideal for large-scale industrial uses, including marine propulsion. Innovations in magnetic materials and cooling techniques may further disrupt the current landscape by enabling PM motors, particularly Vernier motors, to operate more efficiently at higher power levels (6-22 MW), thereby enabling them to compete with conventional motors in high-power applications. Future propulsion systems are expected to be compact and zero-emission to reduce pollution. By 2030, with further advancements in battery storage, they are anticipated to transition to pure electric propulsion systems, integrating giant solar sails, wind turbines, or a combination of both, as shown in Fig. 29.

VI. Conclusion
Electric propulsion is transforming the maritime industry by offering a cleaner, more efficient, and quieter alternative to traditional diesel engines. This paper explores the technology's evolution and its advantages. Based on the literature review, electric propulsion reduces emissions, optimizes fuel consumption for cost savings, enhances maneuverability and performance, and reduces noise for a more pleasant experience for passengers and crew. The paper compares various types of electric ship propulsion, including in-hull, azimuth, and POD propulsion, highlighting the advantages of POD propulsion such as higher maneuverability, lower noise and vibration, compact size, and higher efficiency. Additionally, it provides a detailed comparison of different electric motors used in POD propulsion, including DC motors, induction motors, superconducting motors, synchronous motors, and permanent magnet motors. The analysis suggests that PMVM which is the new family of PM motors can be a good candidate for future POD propulsion due to their compact size, better thermal performance, higher efficiency, lower cost, and higher torque density. Additionally, in terms of redundancy, dual three-phase systems can improve the reliability and redundancy of ship propulsion, making them a promising option for future propulsion systems.
References
[1] T. J. McCoy, "Electric Ships Past, Present, and Future [Technology Leaders]," in IEEE Electrification Magazine, vol. 3, no. 2, pp. 4-11, June 2015. [ Links ]
[2] J. Chalfant, "Early-Stage Design for Electric Ship," in Proceedings of the IEEE, vol. 103, no. 12, pp. 2252-2266, Dec. 2015. [ Links ]
[3] Chen, Chen, Xihuai Wang, and Jianmei Xiao. "Application of energy storage devices in ship electric propulsion system," Navigation of China, vol. 37, no. 4, pp. 25-29, 2014. [ Links ]
[4] D. Paul, "A History of Electric Ship Propulsion Systems [History]," in IEEE Industry Applications Magazine, vol. 26, no. 6, pp. 9-19, 2020. [ Links ]
[5] Bassham, B.A. and Ashton, R., 2012. An evaluation of electric motors for ship propulsion. Monterey, California. Naval Postgraduate School. [ Links ]
[6] Damian, Sophea Elmmydya, Ling Ai Wong, Hussain Shareef, Vigna K. Ramachandaramurthy, C. K. Chan, T. S. Y. Moh, and Meng Chung Tiong. "Review on the challenges of hybrid propulsion system in marine transport system," Journal of Energy Storage, vol. 56, pp. 105983, 2022. [ Links ]
[7] Nuchturee, Chalermkiat, Tie Li, and Hongpu Xia. "Energy efficiency of integrated electric propulsion for ships - A review," Renewable and Sustainable Energy Reviews, vol. 134, 2020. [ Links ]
[8] Skjong, Espen, Egil R0dskar, Maria Marta Molinas Cabrera, Tor Arne Johansen, and Joseph Cunningham. "The marine vessel's electrical power system: From its birth to present day," in Proceedings of the IEEE, vol. 103, no. 12, pp. 2410-2424, 2015. [ Links ]
[9] Kim, Seongwan, Hyeonmin Jeon, and Jongsu Kim. "Trend analysis of domestic and international regulations for electric propulsion system," Journal of International Maritime Safety, Environmental Affairs, and Shipping 4, no. 3, pp. 113-121, 2020. [ Links ]
[10] Duan, Zheng, Yajie Chen, Haibo Gao, and Linhao Liao. "Analysis of key technologies for new green marine propulsion systems," In E3S Web of Conferences, vol. 194, 2020.
[11] ABB. www.abb.com.
[12] Elkafas, Ahmed G., and Mohamed R. Shouman. "A study of the performance of ship diesel-electric propulsion systems from an environmental, energy efficiency, and economic perspective," Marine Technology Society Journal, vol. 56, no. 1, pp. 52-58, 2022. [ Links ]
[13] Kusmierek, Agata, Cezary Galinski, and Wiefczyslaw Stalewski. "Review of the hybrid gas-electric aircraft propulsion systems versus alternative systems," Progress in Aerospace Sciences, vol. 141, 2023. [ Links ]
[14] E. Skjong, R. Volden, E. R0dskar, M. Molinas, T. A. Johansen and J. Cunningham, "Past, Present, and Future Challenges of the Marine Vessel's Electrical Power System," in IEEE Transactions on Transportation Electrification, vol. 2, no. 4, pp. 522-537, 2016. [ Links ]
[15] Gesell, Hendrik, Florian Wolters, and Martin Plohr. "System analysis of turbo-electric and hybrid-electric propulsion systems on a regional aircraft," The Aeronautical Journal, vol. 123, no. 1268, pp. 1602-1617, 2019. [ Links ]
[16] Kim, Ye-Rin, Jae-Myeong Kim, Jae-Jung Jung, So-Yeon Kim, Jae-Hak Choi, and Hyun-Goo Lee. "Comprehensive design of dc shipboard power systems for pure electric propulsion ship based on battery energy storage system," Energies, vol. 14, no. 17, 2021. [ Links ]
[17] J. M. Apsley et al., "Propulsion Drive Models for Full Electric Marine Propulsion Systems," in IEEE Transactions on Industry Applications, vol. 45, no. 2, pp. 676-684, 2009. [ Links ]
[18] Thongam, J. S., M. Tarbouchi, A. F. Okou, D. Bouchard, and R. Beguenane. "Trends in naval ship propulsion drive motor technology," In 2013 IEEE Electrical Power and Energy Conference, pp. 1-5.
[19] Thordon Bearings Inc., "Is a water-lubricated propeller shaft arrangement more efficient than podded propulsion?" 2016. http://thordonbearings.com
[20] Hänninen, Samuli, Torsten Heideman, and Klaus Vänskä. "Azimuth propeller operation in ice conditions," In SNAME International Conference and Exhibition on Performance of Ships and Structures in Ice, p. D011S004R001. SNAME, 2012.
[21] ZF. www.zf.com.
[22] Park, Jong-Yong, Pilgun Oh, Taejin Kim, and Jun-Ho Lee. "Study on stopping ability of a ship equipped with azimuth propeller," Journal of Ocean Engineering and Technology, vol. 34, no. 1, pp. 13-18, 2020. [ Links ]
[23] Saboo, Saurabh, Harsh Dhanesha, Raj Ardeshna, and Saurin Sheth. "Study of advancement in Marine Vessel Propulsion Systems leading to progress of Steerable Control Unit," 1st International Conference on Automation in Industries (ICAI), vol. 1, pp. 285-289, 2016.
[24] Bal, Sakir, and Mesut Güner. "Performance analysis of podded propul-sors," Ocean Engineering, vol. 36, no. 8. pp. 556-563, 2009. [ Links ]
[25] Kuuskoski, Jukka, and Matti Holmsten. "Azipod® Propulsion Systems in 21st century," Marine Engineering, vol. 36, no. 9, pp. 750-756, 2001. [ Links ]
[26] Holla, Janne. "Development of Azipod propulsion system testing procedures: managing the test portfolio," Master's Thesis, Lappeenranta-Lahti University of Technology LUT, 2023. [ Links ]
[27] Rolls-Royce. www.rolls-royce.com.
[28] Berg, Lena, and Ulrika Helldén. "Electrical systems in pod propulsion," Master's Thesis, Chalmers University of Technology, 2007. [ Links ]
[29] J. V. Meer, A. Bendre, S. Krstic and D. Divan, "Improved ship power system - generation, distribution, and fault control for electric propulsion and ship service," IEEE Electric Ship Technologies Symposium, Philadelphia, PA, USA, pp. 284-291, 2005.
[30] F. Wang, Z. Zhang, T. Ericsen, R. Raju, R. Burgos and D. Boroyevich, "Advances in Power Conversion and Drives for Shipboard Systems," in Proceedings of the IEEE, vol. 103, no. 12, pp. 2285-2311, 2015. [ Links ]
[31] Reusser, Carlos A., Hector A. Young, Joel R. Perez Osses, Marcelo A. Perez, and Oliver J. Simmonds. "Power electronics and drives: Applications to modern ship propulsion systems," in IEEE Industrial Electronics Magazine, vol. 14, no. 4, pp. 106-122, 2020. [ Links ]
[32] English, Paul. "The evolution of marine and drilling drives in today's market," ALSTOM Power Conversion Ltd (Rugby, UK), pp. 18-19, 2001.
[33] J. Dai, S. W. Nam, M. Pande and G. Esmaeili, "Medium-voltage current-source converter drives for marine propulsion system using a dual-winding synchronous machine," in IEEE Transactions on Industry Applications, vol. 50, no. 6, pp. 3971-3976, 2014. [ Links ]
[34] E. Koptjaev and E. Popkov, "Direct-conversion electric propulsion system," 2018 International Conference on Industrial Engineering, Applications and Manufacturing (ICIEAM), Moscow, Russia, pp. 1-5, 2018.
[35] E. Leleu, "A new high power transformer-less voltage source converter proven on a marine electric propulsion," 15th European Conference on Power Electronics and Applications (EPE), pp. 1-10, 2013.
[36] Kirtley, James L., Arijit Banerjee, and Steven Englebretson. "Motors for ship propulsion," Proceedings of the IEEE, vol. 103, no. 12, pp. 2320-2332, 2015. [ Links ]
[37] Koenhardono, Eddy Setyo, Juniarko Prananda, and Ekaprana Danian. "Analysis of engine propeller matching of DC motor as a main propulsion," International Journal of Marine Engineering Innovation and Research, vol. 2, no. 1, 2017. [ Links ]
[38] Jeon, Hyeonmin, Jaejung Hur, and Kyoungkuk Yoon. "Control method for performance improvement of BLDC motor used for propulsion of electric propulsion ship," Journal of the Korean Society of Marine Environment and Safety, vol. 25, no. 6, pp. 802-808, 2019. [ Links ]
[39] Lewis, Clive. "The advanced induction motor," In IEEE Power Engineering Society Summer Meeting, vol. 1, pp. 250-253, 2002. [ Links ]
[40] Karmaker, Haran, Dean Sarandria, Man Tak Ho, James Feng, Devdatta Kulkarni, and Gabriel Rupertus. "High-power dense electric propulsion motor," IEEE Transactions on Industry Applications, vol. 51, no. 2, pp. 1341-1347, 2014. [ Links ]
[41] Nikolaou, K. I., M. E. Beniakar, and A. G. Kladas. "Design considerations in induction motors for ship thruster propulsion," In 2014 International Conference on Electrical Machines (ICEM), pp. 2286-2292, 2014.
[42] www.gepowerconversion.com
[43] Englebretson, S. C., J. L. Kirtley Jr, and C. Chryssostomidis. "Optimization of direct drive induction motors for electric ship propulsion with high speed propellers," In Proceedings of the 2009 Grand Challenges in Modeling and Simulation Conference, pp. 96-103, 2009.
[44] Liu, Zicheng, Junyong Wu, and Liangliang Hao. "Coordinated and fault-tolerant control of tandem 15-phase induction motors in ship propulsion system," IET Electric Power Applications, vol. 12, no. 1, pp. 91-97, 2018. [ Links ]
[45] A. S. Nanoty and A. R. Chudasama, "Design of multiphase induction motor for electric ship propulsion," 2011 IEEE Electric Ship Technologies Symposium, Alexandria, VA, USA, pp. 283-287, 2011.
[46] E. S. Henningsen, "Synchronous motors for ship propulsion," in Journal of the American Institute of Electrical Engineers, vol. 40, no. 5, pp. 369-373, 1921. [ Links ]
[47] Arish, Nima, Fabrizio Marignetti, and Mohammad Yazdani-Asrami. "Comparative study of a new structure of HTS-bulk axial flux-switching machine," Physica C: Superconductivity and its Applications, vol. 584, 2021. [ Links ]
[48] Arish, Nima. "Leakage flux reduction of axial-flux switching PM machine by using HTS-disk," Physica C: Superconductivity and its Applications 590, 2021. [ Links ]
[49] Yanamoto, Toshiyuki, Mitsuru Izumi, Katsuya Umemoto, Tamami Oryu, Youhei Murase, and Masahide Kawamura. "Load test of 3-MW HTS motor for ship propulsion," IEEE Transactions on Applied Superconductivity, vol. 27, no. 8, pp. 1-5, 2017. [ Links ]
[50] Arish, Nima, Masoud Ardestani, and Arsalan Hekmati. "Optimum structure of rotor slot for a 20 kW HTS induction motor," Physica C: Superconductivity and its Applications, vol. 582, 2021. [ Links ]
[51] Arish, N. "Electromagnetic performance analysis of linear vernier machine with PM and HTS-bulk," Physica C: Superconductivity and its Applications, vol. 579, 2020. [ Links ]
[52] Fuger, Rene, Arkadiy Matsekh, John Kells, D. B. T. Sercombe, and Ante Guina. "A superconducting homopolar motor and generator-new approaches," Superconductor Science and Technology, vol. 29, no. 3, 2016. [ Links ]
[53] Lee, Ji-Kwang, Sang Ho Park, Yungil Kim, Seyeon Lee, Woo-Seok Kim, Kyeongdal Choi, and Song-Yop Hahn. "Electrical properties analysis and test result of windings for a fully superconducting 10 HP homopolar motor," IEEE transactions on applied superconductivity, vol. 22, no. 3, pp.5201405-5201405, 2011. [ Links ]
[54] Thongam, J. S., M. Tarbouchi, A. F. Okou, D. Bouchard, and R. Beguenane. "All-electric ships-A review of the present state of the art," In 2013 Eighth International Conference and Exhibition on Ecological Vehicles and Renewable Energies (EVER), pp. 1-8, 2013.
[55] Moon, Heejong, Yeong-Chun Kim, Heui-Joo Park, In-Keun Yu, and Minwon Park. "An introduction to the design and fabrication progress of a megawatt class 2G HTS motor for the ship propulsion application," Superconductor Science and Technology, vol. 29, no. 3, 2016. [ Links ]
[56] Gamble, Bruce, Greg Snitchler, and Tim MacDonald. "Full power test of a 36.5 MW HTS propulsion motor," IEEE Transactions on Applied Superconductivity, vol. 21, no. 3, pp. 1083-1088, 2010. [ Links ]
[57] T. Yanamoto, M. Izumi, K. Umemoto, T. Oryu, Y. Murase and M. Kawamura, "Load test of 3-MW HTS motor for ship propulsion," in IEEE Transactions on Applied Superconductivity, vol. 27, no. 8, pp. 1-5, 2017.
[58] Grandi, Gabriele, Claudio Rossi, Domenico Casadei, Gaetano Messina, and Angelo Gaetani. "Electric ship propulsion system based on wound rotor synchronous machine supplied by multilevel converter," in Ship Propulsion and Railway Traction Systems Conference, Bologna, Italy, October, 2005.
[59] Chu, K. H., Josep Pou, S. Ramakrishna, and A. K. Gupta. "Salient pole wound field synchronous machine for marine propulsors with outboard drives: Analysis and design," In IECON 2017-43rd Annual Conference of the IEEE Industrial Electronics Society, pp. 3754-3759, 2017.
[60] Lateb, R., N. Takorabet, F. Meibody-Tabar, A. Mirzaian, J. Enon, and A. Sarribouette. "Performances comparison of induction motors and surface mounted PM motor for POD marine propulsion," In Fourtieth IAS Annual Meeting. Conference Record of the 2005 Industry Applications Conference, vol. 2, pp. 1342-1349, 2005.
[61] Kasha, Andrew, Ruiyang Lin, Scott Sudhoff, Julie Chalfant, and Jamal Alsawalhi. "A comparison of permanent magnet machine topologies for marine propulsion applications," In 2017 IEEE Electric Ship Technologies Symposium (ESTS), pp. 437-444, 2017.
[62] Chasiotis, Ioannis D., and Yannis L. Karnavas. "A study on design and optimization of high power density PMSM for pod propulsion system," In 2018 XIII International Conference on Electrical Machines (ICEM), pp. 534-540, 2018.
[63] Sarigiannidis, A. G., A. G. Kladas, A. Mountaneas, M. E. Beniakar, G. Politis, I. K. Pallis, E. C. Tatakis, S. E. Dallas, and J. M. Prousalidis. "Design of surface PM motors for pod application utilizing a 3D hydro-dynamic model," In 2016 XXII International Conference on Electrical Machines (ICEM), pp. 2934-2940, 2016.
[64] Teymoori, Vahid, Hossein Dastres, Maarten J. Kamper, Rong-Jie Wang, and Nima Arish. "Enhanced Fast Terminal Sliding Mode Observer for Wide-Speed Sensorless Control of PM Vernier Ship Propulsion Machine Drives," In 2023 International Aegean Conference on Electrical Machines and Power Electronics (ACEMP) & 2023 International Conference on Optimization of Electrical and Electronic Equipment (OPTIM), pp. 1-7, 2023.
[65] Liu, Yang, Fei Long, Jinjun Yin, Jiansheng Lei, and Yuting Gao. "Optimal design of a Halbach magnetized permanent magnet motor applied in electrical marine propulsion system," In 2014 IEEE Conference and Expo Transportation Electrification Asia-Pacific (ITEC Asia-Pacific), pp. 1-5, 2014.
[66] Li, Yukai, Yuli Hu, Youguang Guo, Baowei Song, and Zhaoyong Mao. "Analytical modeling and design of novel conical Halbach permanent magnet couplings for underwater propulsion," Journal of Marine Science and Engineering 9, no. 3, 2021. [ Links ]
[67] Bianchi, N., S. Bolognani, and Branimir Ruzojcic. "Design of a 1000 HP permanent magnet synchronous motor for ship propulsion," In 13th European Conference on Power Electronics and Applications, pp. 1-8, 2009.
[68] Ruzojcic, Branimir, Damir Zarko, and Drago Ban. "Interior permanent-magnet motor for ship propulsion, design and testing," In 13th European Conference on Power Electronics and Applications, pp. 1-10. IEEE, 2009.
[69] Yu, Jincheng, Wenyuan Mi, Zheng Cai, Zaixin Song, Senyi Liu, and Chunhua Liu. "Design principle considering structural mutual effects of double-stator V-Shape-PM Vernier machines for electric ship propulsion," in IEEE Transactions on Transportation Electrification, vol. 10, no. 1, pp. 496-508, 2024. [ Links ]
[70] Lee, Sun-Kwon, Gyu-Hong Kang, and Jin Hur. "Finite element computation of magnetic vibration sources in 100 kW two fractional-slot interior permanent magnet machines for ship." IEEE Transactions on Magnetics, vol. 48, no. 2, pp. 867-870, 2012. [ Links ]
[71] Guerroudj, C., R. Saou, J. F. Charpentier, and A. Boulayoune. "Optimal design of a novel doubly salient permanent magnet motors for high power ship propulsion," In 2018 XIII International Conference on Electrical Machines (ICEM), pp. 2556-2562, 2018.
[72] Arish, Nima, Maarten J. Kamper, and Rong-Jie Wang. "Electromagnetic Analysis of flux barrier U-shaped permanent magnet Vernier motor," In 2021 International Aegean Conference on Electrical Machines and Power Electronics (ACEMP) and 2021 International Conference on Optimization of Electrical and Electronic Equipment (OPTIM), pp. 198-204, 2021.
[73] Ouldhamrane, Hichem, Jean-Frédéric Charpentier, Farid Khoucha, Ab-delhalim Zaoui, Yahia Achour, and Mohamed Benbouzid. "Optimal design of axial flux permanent magnet motors for ship RIM-driven thruster," Machines, vol. 10, no. 10, 2022. [ Links ]
[74] Ojaghlu, Pourya, and Abolfazl Vahedi. "Specification and design of ring winding axial flux motor for rim-driven thruster of ship electric propulsion," IEEE Transactions on Vehicular Technology, vol. 68, no. 2, pp. 1318-1326, 2018. [ Links ]
[75] Dobzhanskyi, Oleksandr, and Ebrahim Amiri. "Performance analysis of the transverse-flux machine with high number of poles for large wind, hydro, and electric ship propulsion systems," In 2020 IEEE Green Technologies Conference (GreenTech), pp. 1-6, 2020.
[76] Dobzhanskyi, Oleksandr, Rupert Gouws, and Nima Zabihi. "High shear-stress density transverse-flux machine for large direct-driven wind turbines, and electric ship propulsion systems," in 10th International Conference on Power Electronics, Machines and Drives, pp. 844-849, 2020.
[77] Jing, Libing, Tao Wang, Weizhao Tang, Wei Liu, and Ronghai Qu. "Characteristic analysis of the magnetic variable speed diesel-electric hybrid motor with auxiliary teeth for ship propulsion," in IEEE/ASME Transactions on Mechatronics, vol. 29, no. 1, pp. 668-678, 2024.
[78] Arish, Nima, Maarten J. Kamper, and Rong-Jie Wang. "Performance of large low-pole-ratio non-overlap-winding PM Vernier motor," In 26th International Conference on Electrical Machines and Systems (ICEMS), pp. 5255-5260, 2023.
[79] Kanerva, Sami, and Jan-Fredrik Hansen. "State of the art in electric propulsion-viewpoint on redundancy," In 2009 IEEE Electric Ship Technologies Symposium, pp. 499-504, 2009.
[80] S. Paul, R. Mitra, A.P. Ortega, P. Pramod and R. Islam, "Drive response modeling of dual wound surface permanent magnet machines," IEEE International Electric Machines and Drives Conference, USA, pp. 1-8, 2017.
[81] N. Arish, M. J. Kamper and R. -J. Wang, "Performance Comparison of 5-MW normal and dual three-phase PM Vernier motors for ship propulsion," 2023 International Aegean Conference on Electrical Machines and Power Electronics (ACEMP) and 2023 International Conference on Optimization of Electrical and Electronic Equipment (OPTIM), Istanbul, Turkiye, pp. 1-8, 2021.
[82] L. Parsa and H. A. Toliyat, "Five-phase permanent magnet motor drives for ship propulsion applications," IEEE Electric Ship Technologies Symposium, 2005., Philadelphia, PA, USA, pp. 371-378, 2005.
This work was supported by ABB Corporate Research in Sweden and Stellenbosch University in South Africa.

Nima Arish He received the M.Eng. degree in Electrical and Electronic Engineering from Semnan University, Semnan, Iran, in 2018. He is currently pursuing the Ph.D. degree in Electrical Engineering at Stellenbosch University, Stellenbosch, South Africa, with expected completion in 2024. His Ph.D. research focuses on the development of high-power permanent magnet Vernier motors for ship propulsion applications, for which he has published several conference and journal papers. His research interests include the design and optimization of electric machines, renewable energy, and power transmission.

Maarten J. Kamper (SM'08) received the M.Sc. (Eng.) degree in 1987 and the Ph.D. (Eng.) degree in 1996, both from Stellenbosch University, South Africa. He has been with the academic staff of the Department of Electrical and Electronic Engineering, Stellenbosch University, since 1989, where he is currently a distinguished Professor of electrical machines and drives. His research interests include computer-aided design and control of reluctance, permanent magnet, and induction machine drives. Prof. Kamper is a South African National Research Foundation-supported scientist and a registered Professional Engineer in South Africa.

Rong-Jie Wang (SM'08) received the M.Sc. (Eng.) degree in electrical engineering from the University of Cape Town, South Africa, in 1998, and the Ph.D. degree in electrical engineering from Stellenbosch University, South Africa, in 2003. He is currently a Professor with the Department of Electrical and Electronic Engineering, Stellenbosch University. His research interests include novel topologies of permanent magnet machines, computer-aided design and optimization of electrical machines, cooling design and analysis, and renewable energy systems. He is a South African National Research Foundation-rated researcher and a registered Professional Engineer in South Africa.












